易造新闻
高压线路安装雷电记录仪这二点很关键,看完受益匪浅【易造防雷】
高压线路安装雷电记录仪这二点很关键,看完受益匪浅!雷电流记录仪是一种高精度的雷击记录仪器,主要用于对直击雷进行记录,包括:雷电流波形、雷击发生时间、雷电次数、雷电流波形峰值、单位能量值、雷击极性等。并对数据存储处理,采集的数据完整性好、准确度高。
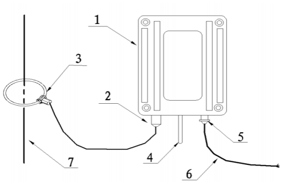
以下是雷电记录仪产品的组成:

1、主控箱
2、主控板连接罗氏线圈
3、罗氏线圈
4、无线传输天线(可选)
5、直流供电和RS485总线连接插头
6、五芯屏蔽电缆
7、接闪杆或接地引下线

那么在高压线路上可以安装雷电记录仪吗?
答案是可以装的但是在产品设计时,需要考虑到气候温度和湿度,因为雷电记录仪的运行是跟你安装的环境息息相关。打个比方,假如你想要在东北地区安装雷电记录仪,产品的设计就要考虑到东北的低温环境,以免产品在使用过程中出现运行障碍;而在南方因为环境潮湿,产品在使用过程之中,也是会受到影响的,因此需要做好防湿保护。

安装雷电记录仪在高压线路上,有两个地方可以接。
一、高压线路上避雷保护线接地引下线可以装;
二、高压线路上高压避雷器泄放的地线端也可以装。
但是需要注意的是,在高压电路上安装雷电流记录仪,需要注意供电和通讯两部分。因为高压上的电磁辐射非常大,在这种辐射环境下,要做更更高的屏蔽处理,同时在户外,不可能有线通讯,需要做通讯。

易造EFZ系列雷电记录仪,主要是与防护直击雷的接闪器或引下线一起使用,也可安装在高压线路上的雷电记录,并且具备无线传输功能。它采用柔性罗氏线圈为电流传感器,能实时记录雷击发生时的各种参数,可以为雷电防护和雷击事故分析提供数字依据,适用于电力、古建筑、军队、学校、医院、交通、石油化工等行业,也可以和其他防雷措施组合一起来使用,为后期的防雷改造升级做好科学的规划。

如果您想要了解安装雷电记录仪的更多资讯,欢迎到杭州易造咨询,可以安排技术人员进行1对1的服务。
-End-
易造复合型浪涌保护器,20年设计寿命,小体积大通流,低残压、高TOV耐受1800V;MG串联技术,0漏流0续流;密封型结构无外泄电弧,不起火。
易造电涌保护器采用链式放电技术,实现了SPD的能量自动协调功能,安装时无需考虑两级SPD间的距离,第二级SPD可以直接安装于第一级SPD后端,安装更方便!
易造浪涌保护器外壳采用PA66高阻燃绝缘材料,符合UL94V-0 RoHS REACH,一体化设计防震防潮耐高温,易造电涌保护器广泛应用于电力、新能源、通讯、建筑、轨道交通、石油石化等多个领域。
杭州易造是浙江省科技型企业,高品质防雷设备生产厂家,拥有全套风电浪涌保护器生产技术。主要生产一级浪涌保护器、二级浪涌保护器、三级电涌保护器、信号防雷器、直流防雷器、风电浪涌保护器等全系列防雷模块,产品通过了UL、CSA、TUV、CQC、CE等权威认证,1500+规格型号,可满足所有低压设备的电涌防护要求。
相关文章:
此文关键词: 安装雷电记录仪
联系易造
联系易造
CONTACT EYZAO
咨询热线:133-8651-1449
固定电话:0571-89721333
公司邮箱: eyzao@eyzao.com
营销中心:浙江省杭州市萧山区钱江世纪城宁一路9号
我要留言
LEAVE A MESSAGE
推荐产品
产品资讯MORE
为什么防浪涌保护器要安装退耦装置-效果不只是高一点【杭州易造】…
2022.02.24
2022.02.22
雷电预警系统安装注意事项-节省45%人工维护成本【杭州易造】…
2022.06.29
浪涌保护器的续流对线路有什么影响-点击查看详情【杭州易造】…
2022.02.20
2022.02.21
一级建筑物的防雷规范-保护电器设备免受雷击损坏-易造防雷指南-易造防雷…
2023.04.22
光伏直流SPD可以不用安装后备保护装置(Fuse)吗?——为你答疑解惑【易造防雷】…
2023.04.02
2024.04.17
UL浪涌保护器:保障你的电器设备免受电压突变的伤害-易造防雷…
2023.11.29
建筑物防雷设计规范GB50057-2010——建筑物防雷分类【易造防雷】…
2023.02.14
用户评论
我要评论






